абревиатура DIY расшифровывается как do it yourself ака сделай сам. по этой аббревиатуре на гугле можно много чего интересного найти по машинам, то чо можно сделать самому. втом числе и описание MBC (manual boost controller). что в переводе значит ручной бустконтроллер.
для чего нужен? для того чтобы:
а) поднимать давление наддува (уменьшить давление наддува никаким бустконтроллером НЕЛЬЗЯ. минимальное давление - это уже физическая характеристика вестгейта. т.е. тут нужен не бустконтроллер, а другой вестгейт или модифицированный вестгейт)
б) уменьшить турбо-лаг.
с первым я думаю относительно всё понятно, а со вторым - обьясню:
что такое турбо-лаг? если выражаться обычным языком, то кол-во времени проходящее после того, как вы нажали тапку в пол и до момента когда турба начала качать максимальное давление установленное вестгейтом.
так же под турболагом подразумевают тот диапазон оборотов, до которого турба даже при тапке в пол не в состоянии расскрутиться в полную силу.
вот со вторым моментом и бумс бороться (так как первое - опять таки характеристика турбы. хотя есть несколько методов, позволяющих быстрее расскрутить турбину)
как работает вестгейт на штатной турбе? он работает "постепенно" чтоли. т.е. когда в впускном коллекторе 0 пси - он полностью закрыт. когда 3 пси - он чуть-чуть приоткрыт. 5 пси - он открыт на половину, ну а на 7ми пси - полностью (это при условии, если вестгейт настроен на макс давление наддува 7 пси). дак вот в этих промежуточных стадиях (0-7 пси) вестгейт приоткрывается, хотя это совсем не надо и чась газхов, которые могли бы раскручивать турбину уходят через вестгейт мимо. что делает бустконтроллер - до определённого момента он не подаёт давление в вестгейт, а когда набирается нужное давление в системе - он сразу открывается, позволяя всему давлению СРАЗУ попасть в вестгейт и вестгейт из положения полностью_закрыто СРАЗУ же переходит в положение полностью_открыто. что это даёт? уменьшает время расскручивания турбины до рабочих оборотов, увеличение площади под графиком мощности и как результат - лучшее время на дороге. максимальыне лошади это не увеличивает (при условии, что бустоставлен прежним).
но на самом деле механический бустконтроллер всёравно будет позволять вестгейту открывтаься чуть-раньше, но он гораздо улучшит ситуацию =) по настоящему "ОТКРЫТ или ЗАКРЫТ" будет работать только элеткронный бустконтроллер.
впрочем, учитывая что на создание механического бустконтроллера уйдёт меньше 5ти баксов, то оно того стоит =)
за основу идеи взяты материалы с
http://www.geocities.com/chmwatson/FAQs/mbc.html
поэтому рекомендую заглянуть ещё и туда для дополнительной информации.
вот как делал его я в наших условиях (т.е. отсутсвие какого либо разнообразия тройничков, штуцеров и т.д. =))
итак, список того что надо было:
1) тройник тормозной системы ВАЗа. 2 рубля на рынке.
2) одна тормозная трубка от этого же ВАЗа. самая короткая нужна. 1 рубль на том же метсном рынке.
3) шарик диаметром 5 мм или около того. взял пульку от пистолета аникс. упаквка таких шариков (200 штук) стоит вроде 4 рубля
4) пружинка. взял из старой ручки шариковой.
5) болт с гайкой с подходящей резьбой. подбирать надо так, чтобы вкручивался полностью в тройничок.
6) герметизирующая лента.
вот-с:

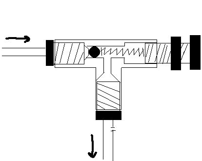
в одну сторону уже вкручена трубка. с противоположной стороны надо просверлить отверстие сверлом, таким же диаметром, как и диаметр шарика (вернее чуть больше, чтобы шарик свободно ходил там). просверлить надо так, чтобы шарик упав туда и будучи прижатым не давал выходить воздуху из трубки (полностью перекрыть поток воздуха не полчиться, но надо максимально сделать плотно). при этом шарик должен виднесться в средний выход тройничка:

или вот на схеме. тока что нарисовал, так что коряво =)

вот так он собранный выглядит:

единственное но - пружинку я разрезал пополам она видимо должна полностью входить в тройничёк, иначе слишком большой будет буст. хоят всё завсиит от целей =) короче этот момент надо подбирать =)
далее, в выходе надо сделать небольшое отверстие. приблизительно 0.5-1 мм диаметром. дрелью и маленьким сверлом =)

отверстие надо для того, что бы в момент переключения передач, воздух из вестгейта мог куданить выйти (ведь шарик плотно закроется) и вестгейт мог закрыться.
подключать согласно вышенарисованной схеме.
настравать просто - выкручивает болт - меньше давление, закручиваете - больше. гайка нужна для фиксации болта.
все нстройки проводите только с подключенным датчиком давления в впускном коллекторе. иначе перекрутите - стопро.
вероятно при полностьювыкручином болте давление будет всёравно велико - надо либо уменьшить в длинне пружинку, или заменить на более мягкую. или как вариант при полностью вркученном болте давление будет всёравно маленьким - надо поменять пружинку на более жёсткую.. вообещм - всё просто =)